1. 서 론
2. 벤토나이트 완충재의 침식 및 메커니즘
2.1 화학적 침식 메커니즘
2.2 물리적 침식 메커니즘
2.3 벤토나이트 완충재의 파이핑 메커니즘
3. 벤토나이트 완충재의 침식 및 파이핑 영향인자
3.1 지하수 압력 및 유량
3.2 지하수 조성 및 농도
3.3 완충재 조성
3.4 완충재 초기 건조밀도
3.5 완충재 함수비
4. 벤토나이트 완충재의 침식 및 파이핑 관련 시험 현황
4.1 밴토나이트 완충재 침식 시험
4.2 밴토나이트 완충재 파이핑 실험
5. 벤토나이트 완충재의 침식 및 파이핑 관련 수치 모델 현황
5.1 동적 벤토나이트 확산 모델
5.2 팽창성 점토 모델
5.3 수리-역학 모델
6. 결 론
1. 서 론
국내 고준위방사성폐기물을 처분하기 위해 고려되고 있는 심층처분장은 고준위방사성폐기물로부터 발생하는 방사성 핵종을 구리 처분용기, 압축벤토나이트 완충재 및 뒤채움재, 펠렛이나 그래뉼 등의 갭채움재, 그리고 근계암반의 다중방벽을 활용하여 인간 생활권계로부터 장기간 격리하는 역할을 수행한다. 핵종이 들어있는 처분용기와 처분공 사이를 메우는 압축벤토나이트 완충재는 주위 암반으로부터의 지하수 침투를 저지하고 사용후핵연료로부터 발생하는 붕괴열을 근계암반으로 전달하여 내부 온도를 조절할 뿐만 아니라, 처분공에 가해진 응력이나 변위를 근계암반으로 분산시키는 기능도 가지고 있다(Lee et al., 2015). 심층처분장의 처분터널과 처분공을 굴착할 때 발생하는 발파 및 굴착응력으로 인해 공학적방벽 주변 근계암반에 손상대가 형성되고, 심층처분장 폐쇄 이후 손상대의 단열들을 통해 지하수가 처분공 내로 침투하여 처분공에 설치되어 있는 압축벤토나이트 완충재가 포화된다(Neretnieks et al., 2009). 처분 초기에 과다한 지하수 유입으로 인해 단열 내 수압이 완충재의 팽윤압보다 클 경우, 수압을 억제할 수 있는 힘의 부재로 벤토나이트 내 지하수가 자유롭게 흐를 수 있는 파이핑 채널이 발생하여 완충재 표면을 통해 갭채움재 및 완충재를 구성하는 벤토나이트 입자들이 지하수 흐름에 따라 이동할 수 있다(Sane et al., 2013). 반대로 지하수의 수압이 완충재의 팽윤압보다 작은 경우 완충재는 팽윤으로 인해 처분공 주변 단열로 침투하기도 한다(Lee et al., 2020). 침투 벤토나이트의 전단(front)에서는 벤토나이트 평판들이 서로 떨어져 겔 및 졸 거동을 보이고, 벤토나이트 겔이 지하수 흐름에 노출되면 각각의 평판들이 떨어져 자유입자로 확산해나가 공학적방벽 외부로 침식될 수 있다. 압축벤토나이트 완충재의 침식 및 파이핑은 처분용기와 뒤채움재로 인한 침하 발생을 야기하는 등 공학적방벽의 물리적 건전성에 영향을 미칠 수 있고 핵종 저지, 지하수 유입방지, 열전달 등의 완충재의 필요성능에도 저하가 발생할 것으로 예상된다.
해외에서는 벤토나이트의 균열 내 침식과 파이핑 특성을 보기 위한 소규모 및 공학규모 실험들이 수행되었고, 침식 현상들을 모델링하기 위한 다양한 수리-역학-화학적 모델과 수리-역학적 모델들이 제시되었다. 또한, BELBaR (Bentonite Erosion: effects on the Long term performance of the engineered Barrier and Radionuclide transport) 프로젝트와 같은 공동연구 프로젝트를 통해 공학적방벽 내 벤토나이트의 콜로이드 형성, 침식, 안정성 및 핵종 이동에 미치는 영향을 파악하기 위한 실험 및 수치해석 연구를 수행하였다. 본 논문에서는 공학적방벽 내 압축벤토나이트 완충재의 침식 및 파이핑 현상과 관련된 물리-화학적 메커니즘, 발생 시나리오, 영향인자, 실내 실험 및 수치 모델링 연구 사례들을 정리하여 소개함으로써, 국내 심층처분장의 완충재 침식 및 파이핑 관련 연구의 방향성을 제시하고자 한다.
2. 벤토나이트 완충재의 침식 및 메커니즘
2.1 화학적 침식 메커니즘
완충재의 재료로 고려되고 있는 벤토나이트는 지하수와 만나 팽윤하고 팽윤된 벤토나이트는 낮은 투수계수로 지하수의 추가적인 유입을 방지한다. 지하수 침투 시 벤토나이트는 물을 흡수하고 두 종류의 수화 메커니즘에 의해 팽윤한다(Madsen and Müller-Vonmoos, 1989). 먼저 내부결정 팽윤(inter-crystalline swelling)에서는 물 분자의 OH-이온이 물이 몬모릴로나이트 표면의 음이온과 수소결합을 이루고, 교환성 양이온은 실리카 층 표면 근처에 이온농도가 높은 얇은 확산이중층을 형성한다. 확산이중층 형성과 교환성 양이온의 정전기적 인력은 물 분자의 양극화를 일으켜 몬모릴로나이트 입자 사이 다층의 물 분자 층을 형성한다. 삼투 팽윤(Osmotic swelling)에서는 몬모릴로나이트 내 고농도 교환성 양이온과 외부의 저농도 용액 간의 농도차이로 인해 물 분자가 내부층으로 이동하며 발생한다. 물 분자 유입으로 층간 거리가 증가할 뿐만 아니라, 양이온과 점토 표면의 음전하 간의 정전기적 인력 저하로 층간 분리현상이 발생한다. 용액의 이온강도(ionic strength)가 클수록 몬모릴로나이트 공극수와의 농도 차이가 작아 팽윤압이 감소하고 팽윤이 멈출 수 있다. 몬모릴로나이트 현탁액(colloidal suspension)이 불안정해지고 응집(flocclation)이 발생하는 시점의 용액의 농도를 임계응집농도(Critical Coagulation Concentration, CCC)라 하고, 임계응집농도 이하의 용액 이온강도에서 침식이 발생한다(Neretnieks et al., 2009).
수화된 몬모릴로나이트는 용액 내 벤토나이트 함량과 용액의 화학적 조건에 따라 페이스트(paste), 겔(gel), 졸(sol)을 형성한다(Fig. 1). 지하수의 이온강도가 임계응집농도보다 높을 때, 포화된 압축 벤토나이트가 입자 간 척력이 작용하는 repulsive paste를 형성하여 심층처분장의 완충재-근계암반 경계 또는 암반균열 내로 팽윤 침투한다. 침투한 벤토나이트 전단(front)에서 점토함량이 페이스트 형성기준보다 낮아지면 고체 상태에서 입자 간 인력이 작용하는 겔 상태로 변하고, 더욱 낮은 점토함량에서는 입자 간 반발력이 재결합을 막아 유체/반유체 상태의 졸로 변한다. 겔을 형성하기 위해 벤토나이트가 팽윤할 수 있는 물리적인 공간이 필요하고, 졸이 형성되어야 벤토나이트 완충재에서 침식이 일어나는 것으로 알려져 있다(Neretnieks et al., 2009). 벤토나이트 겔의 안전성은 용액의 이온강도 및 pH 등 화학적 조건 등에 의존하고 졸 형성은 용액 내 점토함량과 Na+ 이온의 영향을 받는다. 임계응집농도를 기준으로 몬모릴로나이트 겔의 졸 화가 발생하여 침식이 유발되지만, 이온교환은 지속해서 발생하고 실제 조건에서는 다양한 이온들이 존재하므로 이온 농도만으로 벤토나이트의 침식 여부를 판단할 수 없다(Hedström et al., 2016).
2.2 물리적 침식 메커니즘
벤토나이트의 물리적 침식은 겔 및 졸 내 점토 입자들 사이 마찰과 인력의 합이 지하수 유동으로 인해 점토 입자에 작용하는 견인력(drag force) 보다 작은 경우 발생한다(Liu and Neretnieks, 2006). 지하수 유동으로 인해 떨어져나간 벤토나이트는 팽윤압 또는 지하수 유동에 따라 공학적방벽 처분공 내벽에 존재하는 암반 균열 내로 침투한다. 균열 내 침투한 벤토나이트는 침투 끝단에서 묽고 부드러운 겔과 같은 거동을 보이고, 겔의 강도특성은 점토 입자 간의 정전기력에 의존적이다. 벤토나이트 겔의 거동은 항복강도(yield strength)와 소성점도(plastic viscosity)를 가진 비뉴턴유체의 일종인 Bingham 유체로 모사할 수 있다(Pusch, 1983). 지하수에 의한 벤토나이트의 물리적인 침식은 지하수 유속이나 포화 과정 중의 동수경사(hydraulic gradient)에 따라 달라진다. 벤토나이트 완충재의 균열 내 침투로 인해 완충재의 밀도가 낮아지고 침투가 진행됨에 따라 균열 벽면과의 마찰에 의해 에너지를 손실하여 서서히 침투가 정지된다. 암반 균열 내로 압축 벤토나이트가 침투하는 정도를 좌우하는 주요 인자는 단열 폭과 단열 표면의 거칠기 등의 암반 조건과 그리고 점도와 같은 벤토나이트 겔의 유동 특성이다.
2.3 벤토나이트 완충재의 파이핑 메커니즘
일반적으로 파이핑과 침식은 다른 과정을 거치지만 밀접하게 연관성이 있다. 처분공 내 압축 벤토나이트 완충재와 근계암반 사이 공간은 비어있거나 벤토나이트 펠렛과 같은 뒤채움재로 채워져 있다. 처분공 주변 암반균열을 통해 지하수가 유입되면 압축 벤토나이트 완충재 및 뒤채움재의 포화와 팽윤이 일어나 완충재-근계암반 사이 공간을 채우기 시작한다. 초기 포화단계에서 발생하는 벤토나이트의 침식은 비화작용(Slaking)으로 가속되는 현상을 보인다(Sane et al., 2013). 건조된 벤토나이트 입자가 외측에서부터 급하게 포화될 때, 시료 내부 공기압이 물로 인해 증가하고 이 높은 공기압이 방출되면서 벤토나이트의 침식을 가속한다. 또한 벤토나이트가 흡수할 수 있는 물의 양보다 많은 유량이 유입되면 암반균열 내 수압이 발생하며 이 압력이 벤토나이트 완충재에 작용하게 된다.
벤토나이트 겔은 낮은 강도를 가지고, 포화 초기 단계에서 처분공 내 완충재-근계암반 경계 또는 벤토나이트 펠렛 사이 빈 공간으로 팽윤하므로 높은 팽윤압이 형성되지 않는다. 따라서 암반균열 내 발생한 수압을 억제할 수 있는 힘의 부재로 벤토나이트 내 파이핑 채널이 형성된다. 지하수는 파이핑 채널을 따라 처분장 내 건조한 영역으로 흐르며, 흐르는 방향은 압축 벤토나이트 대비 밀도가 낮은 처분공과 처분터널의 뒤채움재 방향으로 흐를 것으로 예상한다(Fig. 2).
Börgesson and Sandén (2006)은 심지층처분장 내 파이핑이 발생하고 유지되는 조건을 다음과 같이 제안하였다:
(1) 지하수의 흐름이 완충재의 팽윤을 억제할 수 있는 상태: 절리로부터의 수압이 완충재 점토의 전응력(total pressure)과 전단강도(shear resistance)의 합보다 큰 경우
(2) 완충재 점토의 수리전도도(hydraulic conductivity)가 충분히 낮아 절리로부터의 높은 수압과 동수경사를 유지할 수 있는 경우
(3) 침식된 물질이 파이핑 채널의 입구를 막지 않도록 아랫방향의 흐름이 가능한 경우
파이핑이 발생하면 압축 벤토나이트 주변 또는 내부에 파이핑 채널이 형성되어 지하수와 점토 입자들이 채널을 따라 이동한다. 파이핑 채널 형성 이후, 채널 유지를 위한 정수두(팽윤압에 대응하는 압력)는 채널 형성에 필요한 정수두보다 매우 작다(Sane et al., 2013). 파이핑 채널이 발생하면 크게 두 가지 메커니즘으로 인해 파이핑 채널의 크기가 변한다.
(1) 파이핑 채널 벽면의 벤토나이트 팽윤으로 인한 채널 크기 감소
(2) 팽윤한 벤토나이트의 침식으로 인해 채널 크기 증가
파이핑 현상은 심지층 처분장의 포화가 되지 않은 폐쇄 초기에만 발생하고, 완충재 펠렛이나 처분공 벽면과 같이 공극이 크고 동수경사가 큰 구간에서 발생할 것으로 예상한다. 압축 벤토나이트와 뒤채움재가 완전히 포화되어 균질화가 일어나면 수두차가 더 이상 없어 파이핑이 발생하지 않는다. 또한, 팽윤압이 크고 지하수 유입량이 작으면 벤토나이트의 팽윤이 파이핑 채널을 닫는 자가치유(self healing) 현상이 발생하여 침식 및 파이핑으로 인한 벤토나이트 내 밀도 차이를 완화하게 된다.
3. 벤토나이트 완충재의 침식 및 파이핑 영향인자
Sane et al.(2013)은 벤토나이트 완충재의 침식 및 파이핑에 영향을 미치는 인자를 언급하였고, 이 인자들을 완충재, 지하수, 근계암반의 영향으로 분류하고 또한 물리적 인자와 화학적 인자로 분류하였다(Fig. 3). 이중에서도 다양한 문헌에서 자주 언급되었던 지하수의 압력 및 유량, 지하수의 조성 및 농도, 완충재의 화학적 조성, 완충재의 건조밀도 및 함수비를 주요 영향인자로 판단하여 각 인자들이 침식 및 파이핑 현상에 미치는 영향을 확인하였다.
3.1 지하수 압력 및 유량
처분공 내 압축 벤토나이트 완충재와 근계암반 사이 공간은 비어있거나 벤토나이트 펠렛과 같은 갭채움재로 채워져 있다. 처분공 주변 암반균열 및 EDZ를 통해 지하수가 유입되면 압축 벤토나이트 완충재 및 갭채움재의 포화와 팽윤이 일어나 완충재-근계암반 사이 공간을 채우기 시작한다. 벤토나이트가 흡수할 수 있는 지하수의 양보다 많은 유량이 유입되면 암반균열 내 수압이 발생한다. 지하수의 압력 및 유량은 완충재의 침식에도 영향을 미치지만 파이핑에 매우 큰 영향을 미치게 된다. 만약 이 지하수 압력이 아래와 같은 조건을 만족하면 지하수는 완충재를 관통하여 파이핑 채널을 형성하게 된다(Börgesson and Sandén, 2006).
이때, p는 지하수의 압력, σt는 완충재에 작용하는 전응력, τ는 완충재의 전단강도이다. 만약 완충재가 아닌 펠렛 등의 갭채움재 내에서 파이핑 채널이 생성되는 경우(Fig. 4), τ는 펠렛의 전단강도가 된다.
Kobayashi et al.(2008)은 Amadei and Stephansson (1997)이 제안한 수식을 수정하여 완충재가 인장과 전단파괴가 발생할 때 임계압력은 아래와 같다고 제안하였다.
이때, pbt는 인장임계압력(critical breakthrough pressure for tensile failure), pbs는 전단임계압력(critical breakthrough pressure for shear failure) Sw는 팽윤압(swelling pressure), α는 Biot 상수로 1로 가정, υ는 포아송(Poisson)비, C는 점착력(cohesion), ϕ는 완충재 내부마찰각(interal friction angle), T는 인장강도, η은 poroelastic coefficient, M은 전단강도로 각각 식 (4)와 식 (5)와 같다.
만약 완충재가 표면부터 일정부분 포화된 후 점토입자(clay particle)와 점토 구조(clay structure) 사이의 마찰(friction)과 인력(attraction)의 합보다 지하수 유동(water movement)으로 인해 점토입자에 작용하는 힘(drag force)이 큰 경우 발생할 수 있다(Börgesson and Sandén, 2006). 일반적으로는 지하수의 압력 및 유량이 많을수록 파이핑 및 침식현상이 발생할 가능성이 높으며 침식량 자체도 많아지게 된다(Schatz et al., 2013). Börgesson et al.(2005)과 Suzuki et al.(2013)의 실내실험결과에 따르면 지하수의 유량이 0.001 L/min 이하인 경우 파이핑 채널이 발생하지 않으며 파이핑 채널이 발생한 후 지하수 압력이 4 kPa 이하가 되면 파이핑 채널이 회복(sealing)되는 것으로 보고되었다.
3.2 지하수 조성 및 농도
지하수의 화학적 조성은 해당 부지의 특성과 관련되며 다양한 종류의 이온들이 지하수 내에 존재한다. 스웨덴에서는 나트륨과 칼슘 이온이 지하수의 지배적인 양이온이며(Karnland et al., 2011), Na+이온과 Ca2+이온의 농도가 완충재의 침식 현상에 가장 큰 영향을 미친다(Birgersson et al., 2009). 국내의 지하수 역시 칼슘이 약 50%를 차지하고 그 다음이 나트륨이 약 25%존재하며, 나머지 25%는 나머지 양이온들을 구성한다(Kim et al., 2016). 따라서 대부분의 완충재 침식 연구에서는 Na+이온과 Ca2+이온의 농도를 중요한 양이온으로 고려하고 있다. 완충재의 표면이 포화되고 이로 인해 팽윤하며 표면부터 화학반응을 통해 겔(gel)과 졸(sol)이 형성되어 침식이 진행된다(Fig. 5(a)). 겔과 졸이 형성되는 조건은 아래 그림과 같이 Na와 Ca 이온농도(Fig. 5(b)), 몬모릴로나이트 함량과 이온강도(Fig. 5(c)) 등에 의해 변화하게 된다. 이러한 이유로 Schatz et al.(2013)은 Na형 몬모릴로나이트 기반의 벤토나이트 완충재를 지하수 조성 및 농도를 바꾸어 실험한 바 있다. 완충재의 절리 침투를 확인하기 위해 평균 침투거리, 유출 지하수의 고체 농도 등을 확인하고(Fig. 6) 완충재의 절리 침투 등을 제외한 실제 손실질량을 계산하였다. Na 몬모릴로나이트 기반의 벤토나이트의 경우 지하수의 조성이 10 g/L(171 mM)에서 0.5 g/L(8.6 mM)의 NaCl인 경우 침식 현상이 관찰되지 않았으며 그보다 낮은 4.3 mM의 NaCl과 증류수에서는 침식으로 인한 완충재의 질량 손실이 관찰되었다. 추가적으로 지하수의 이온강도가 1 mM 이하인 경우 침식률은 지하수의 유속과 비례하는 경향을 보였다.

Fig. 6.
Extrusion distance and effluent concentration of Na-montmorillonite with 10 g/L NaCl (Schatz et al., 2013)
Sane et al.(2013)은 파이핑채널 형성 후 채널 벽면의 침식실험을 TDS (total dissolved solids)가 0 g/L인 수돗물과 10, 35, 70 g/L로 변화시키고 NaCl과 CaCl2를 활용하여 Ca와 Na의 비율을 각각 1:2, 1;1, 3:2로 하여 실험을 수행하였다. 염도(salinity)는 벤토나이트의 습윤과 팽윤에 영향을 미치며 염도가 높으면 벤토나이트가 빠르게 지하수로 포화되지만 더 낮은 염도에서 팽윤이 잘 일어났다. 염도가 높은 경우 초기 침식량(flow rate < 50 L)이 많았으며 시간이 지남에 따라 발생하는 침식량은 점차 감소하는 결과를 도출하였다(Fig. 7).
3.3 완충재 조성
벤토나이트는 다량의 몬모릴로나이트(montmorillonite)와 석영, 장석, 방해석, 석고 등의 부성분광물(accessory mineral)을 포함하는 스멕타이트군 재료로, 이 군에 속하는 모든 광물은 연접한 층상구조와 팽윤 특성을 가진다. 몬모릴로나이트는 Fig. 8과 같이 두 개의 실리카 4면체 층 사이 8면체 산화알루미늄 한 층이 존재하는 2:1층 판상 구조로 되어 있으며, 실리카 4면체 또는 알루미늄 8면체 내부에서 동형치환으로 인해 표면에 음전하를 띠고 있다. 따라서 몬모릴로나이트는 전기적 중성을 이루기 위해 층간 사이에 양이온(Na+, K+, Ca2+, Mg2+ 등)을 흡착하고, 이 교환성 양이온의 종에 따라 Na형과 Ca형으로 구분된다(Karnland and Birgersson, 2006). 교환성 양이온은 몬모릴로나이트 표면의 높은 전기포텐셜(electric potential)로 인해 붙잡혀 있고, 점토 표면으로부터의 거리가 멀어짐에 따라 포텐셜이 감소한다. 전기포텐셜이 0인 몬모릴로나이트를 둘러싸고 있는 가상의 표면을 확산이중층(diffuse double layer)의 경계라 한다. 벤토나이트 내 부성분광물은 평균적으로 몬모릴로나이트 입자보다 매우 크고 전하가 없거나 매우 작다. 따라서 부성분광물 자체는 팽윤하지는 않으나, 벤토나이트의 팽윤 특성에 영향을 미치고 수화된 몬모릴로나이트가 암반균열에 침투하는 경로를 막는 역할을 한다.

Fig. 8.
Edge view of two montmorillonite layers with interlayer cations and water molecules (Karnland and Birgersson, 2006)
Na형 몬모릴로나이트는 Ca형 몬모릴로나이트보다 월등한 팽윤능을 보이는 것으로 알려졌다. 몬모릴로나이트 내부로 물이 침투하면 내부결정 팽윤이 먼저 일어나고, Na+이온이 몬모릴로나이트층 표면으로 이동하여 확산이중층을 형성한다. 이후 정전기적 작용으로 확산이중층 간 반발력이 생겨 점토 평판(platelets)들이 서로 떨어져 분리된다. 반면 Ca2+ 이온은 몬모릴로나이트층 사이에 유지되며 정전기적 인력이 아직 유효하게 작용한다. 따라서 확산이중층은 몬모릴로나이트 입자 표면 주변에만 형성되고 층간 거리가 1 nm 정도 되면 팽윤이 멈춘다(Fig. 9, Madsen and Müller-Vonmoos, 1989). 위와 같이 벤토나이트의 종류에 따라 침식 가능성이 다르며, 국내 심층처분 완충재 후보물질인 경주산 벤토나이트(KJ-I, KJ-II)는 Ca형으로 침식 가능성이 상대적으로 작을 것으로 예상한다. 분리된 점토 평판은 이후 자유롭게 수평으로 흐르는 물에 의해 표면으로 떨어지게 되거나 자유입자로써 확산하여 침식이 발생한다. 이러한 벤토나이트 콜로이드의 발생은 방사성 핵종들이 벤토나이트에 강하게 수착되기 때문에 방사성핵종의 이동에 있어 매우 중요하다.
Na형 몬모릴로나이트의 임계응집농도는 0.01~0.1 M Na+ 범위 내 형성되고 Ca형 몬모릴로나이트의 임계응집농도는 0.0001~0.001 M Ca2+ 범위 내 형성된다(García-García et al., 2007). Lagaly and Ziesmer (2003)와 같이 대부분의 몬모릴로나이트 임계응집농도 관련 시험은 용액 내 점토함량이 낮은(~0.1% w/w) 조건에서 시험하여 , 심층처분장에서 고려되는 고함량 조건(~1% w/w)과 다른 결과를 보인다. 농도에 따라 몬모릴로나이트의 임계응집농도 값은 서로 유사하나, 저함량 조건에서 pH의 영향이 더욱 크게 나타나는 것이 확인되었다(Birgersson et al., 2009, Goh et al., 2011). Na+ 이온강도가 임계응집농도 이상이면 침투 끝단에서의 점토함량이 1% 이하까지 팽윤하고 임계응집농도 이하면 점토 평판이 DLVO (Derjaguin-Landau-Verwey-Overbeek) 이론상 무한히 퍼져나간다고 볼 수 있으나, 다른 이온의 영향 또한 복합적으로 고려되어야 한다(Neretnieks and Moreno, 2018a).
3.4 완충재 초기 건조밀도
완충재의 팽윤성은 몬모릴로나이트의 함량에 따라 달라지며 동일한 조성의 벤토나이트를 사용하는 경우 완충재의 초기 건조밀도에 따라 달라지게 된다. 동일부피 내에 더 많은 몬모릴로나이트가 함유되어 있으면 높은 점착력과 마찰력을 가져 더 높은 전단응력이 작용해야 입자의 분리가 발생할 수 있다. 이는 완충재의 침식 저항성에 이롭게 작용할 수 있다. 하지만 반대로 초기 건조밀도가 높으면 그만큼 내부 공극이 작음을 의미하며 이는 자연스럽게 투수계수의 저감으로 이어지게 된다. 이는 늦게 완충재가 포화됨을 의미하며 만약 파이핑 채널이 이미 발생한 경우 자가치유(self-healing)의 속도가 늦어짐을 의미한다(Sane et al., 2013).
Kobayashi et al.(2008)은 완충재 자체의 관통을 통한 파이핑 채널 형성과정의 관찰을 위해 완충재의 초기 건조밀도에 따른 관통압력을 관찰한 바 있다. 건조밀도를 1.6, 1.8 및 2.0 g/cm3으로 변화시켜 실험을 수행하였을 때 완충재 내에 파이핑 채널이 발생하는 지하수의 임계유입압력은 1.5 MPa에서 5 MPa로 증가하였다(Fig. 10). 이는 높은 건조밀도에서 더 높은 점착력과 마찰력을 가진다는 Sane et al.(2013)의 내용과 일치하였다.
Sandén et al.(2008)은 MX-80, Asha 230, Friedland clay, 그리고 MX-80과 모래의 7:3 혼합물질을 활용하여 이미 발생한 파이핑의 자가치유에 대한 연구를 수행하였다. Table 1과 같이 동일한 물질이더라도 더 높은 건조밀도를 가지는 경우 자가 치유 능력이 높았다(Fig. 11). 이는 Sane et al.(2013)이 언급한 바와는 상이하지만 건조밀도의 차이가 크지 않고 케이스 또한 적어 일반화하기는 어렵다.
Table 1.
Self-healing of clay materials with different groundwater condition and dry density (Sandén et al., 2008)
3.5 완충재 함수비
완충재의 함수비는 완충재의 역학적 및 수리적 특성에 큰 영향을 미치며, 일반적으로 자연상태의 벤토나이트를 압축하여 제작한 완충재의 초기 함수비는 5~15%정도의 범위를 가지게 된다(Kim et al., 2019, Yoon et al., 2020). 일반적으로 점토광물의 함수비 증가는 일축압축강도 등 역학적 물성의 감소를 일으키게 되며 초기 함수비가 높으면 같은 질량/부피의 완충재가 지하수를 흡수할 수 있는 능력 또한 감소하게 된다(Fig. 12, Kobayashi et al., 2008). 앞서 언급한 바와 같이 지하수 유입량보다 완충재의 지하수 흡수량이 낮아지게 되면 잉여 유량이 발생하며 수압이 유발되어 파이핑 현상이 발생될 수 있다. 따라서 완충재 초기 함수비가 높으면 완충재에서 파이핑이 발생할 가능성이 높으며 이는 Fig. 12(b)와 같이 임계유입압이 작아지는 것을 통해 확인할 수 있다.
4. 벤토나이트 완충재의 침식 및 파이핑 관련 시험 현황
4.1 밴토나이트 완충재 침식 시험
4.1.1 인공균열 침식시험
다양한 조건(용액 이온강도, 점토 종류, 유량 정도 등)에서의 시험을 수행하여 벤토나이트의 침식 특성을 파악하기 위한 연구가 다수 수행되어왔다. 본 기술 보고에서는 포화 조건에서의 벤토나이트를 활용하여 수행된 인공균열(artificial fracture) 내 침식 시험과 파이핑 및 수압파쇄 관련 시험의 결과에 중점을 두고 공학적방벽 시스템에서의 벤토나이트 완충재 침식 특성을 분석 및 정리하였다. 인공균열 침식시험은 투명한 재질의 판 두 개를 이용하여 인공균열을 모사하고, 판 사이 벤토나이트 시료를 설치하여 물 주입에 따른 벤토나이트 자유 팽윤과 주입 유량에 따른 벤토나이트의 침식 거동을 육안 및 용출액을 통해 계측하는 시험이다. 인공균열 침식시험을 통해 벤토나이트의 균열 내 침투를 육안으로 측정하고, 용출액을 분석해 벤토나이트의 침식량을 계산하여 처분장의 장기적인 침식률을 계산할 수 있다.
Schatz et al.(2013)은 260×260×20 mm3 아크릴 판 두 개를 이용하여 판 사이 폭 1 mm의 인공균열을 모사하고, 각 아크릴 판 중앙에 지름 20 mm 깊이 10 mm의 원형 홈을 파 원통형 벤토나이트 시료(건조밀도 1,591 kg/m3)를 설치하였다(Fig. 13). 이를 이용하여 정제된 Na형과 Ca형 몬모릴로나이트를 1:1 비율로 섞은 혼합시료와 정제된 Na형 몬모릴로나이트를 대상으로 용액의 NaCl 농도(0~10 g/L)와 유량(0~2.84 mL/min)에 따른 침식 변화를 시험하였다. 4~8.6 mM 이하의 낮은 농도에서 침식이 발생하였고 벤토나이트가 균열로 20~30 mm 침투하였다. 증류수를 사용한 시험에서 혼합시료와 Na형 몬모릴로나이트의 침식 특성 차이는 크지 않았고 침식률(rate of mass loss)과 유량은 멱함수 관계를 보였다. 그러나 높은 농도의 용액에서는 유량과 침식률 간의 경향성은 보이지 않았다.

Fig. 13.
Overhead photographic images of flow visualization of artificial fracture tests (Schatz et al., 2013)
Hedström et al.(2016)은 내부단면 210×210 mm의 PMMA (Polymethyl methacrylate) 셀을 이용하여 폭 0.12 mm와 0.24 mm의 인공균열을 모사하고 정제된 Na형과 Ca형 몬모릴로나이트를 1:1 비율로 섞은 혼합시료와 정제된 Na형 몬모릴로나이트(건조밀도 1,257 kg/m3)를 대상으로 용액의 NaCl 농도(0~20 mM, 그림셀(Grimsel) 지하수), 유량(0~1 mL/min) 및 균열의 경사도에 따른 침식 특성 변화를 시험하였다. 지하수 유동이 없는 자유 팽윤(free swelling) 시험에서는 5 mM NaCl 이하의 농도에서만 침식이 발생하였고, 균열폭이 클수록 벤토나이트 균열침투가 더욱 활발히 일어나고 침식률이 높은 것을 확인하였다. 경사증가에 따라 용액보다 밀도가 높은 벤토나이트 졸이 중력의 영향으로 가라앉아 더욱 높은 침식률을 보였다.
Reid et al.(2015)은 에폭시를 사용하여 암반절리 표면을 모사한 인공균열을 제작하였고, 지름 260 mm의 원형 셀 상하부 사이 각도를 1도 틀어 간극을 형성하였다. 이를 이용하여 정제되지 않은 MX-80 벤토나이트(건조밀도 1,660 kg/m3)에 대해 증류수를 1 mL/min 유량으로 주입하여 130 일간 침식 특성 변화를 측정하였다. 증류수 주입으로 인해 초기에 큰 팽윤압 및 균열침투가 발생하였고 시간에 따라 점차 수렴하였다. 130 일간 시료 무게의 24%가 침식되었고 벤토나이트 침식과 함께 부성분광물이 이동하여 침투 외주면 끝단에 링을 형성하였다. 침식 특성은 크게 팽윤압이 지속적으로 증가하며 침투 끝단에 부성분광물이 링을 형성하는 1단계와, 팽윤압에 의해 부성분광물 링이 깨지면서 기존에 링의 보호를 받던 내부 벤토나이트가 침식되며 침식률이 증가하는 2단계로 나뉘었다. 부성분광물 링은 파괴 이후 지속된 벤토나이트 침식으로 재형성되었고, 이때 벤토나이트의 침식 특성은 다시 1단계로 돌아가는 것을 확인하였다(Fig. 14).

Fig. 14.
(a) Extrusion into fracture after day 10; (b) extrusion into fracture after day 50; (c) extrusion into fracture after day 90; and (d) extrusion into fracture after day 130 with the evaluated accessory-mineral ring area highlighted (Reid et al., 2015)
Vilks and Miller (2010)는 벤토나이트에 220 nm 크기의 형광 라텍스(fluorescent latex colloid) 추적자를 첨가하여 벤토나이트의 침식 특성을 시각화하였다. 추적자가 포함된 벤토나이트를 이용해 지름 37 mm 높이 10 mm의 플러그(건조밀도 2,000 kg/m3)를 제작하여 보어홀로부터 균열 폭 1 mm과 5 mm의 인공 균열 내로의 침투를 모사한 인공균열 시험을 수행하였다. 220 nm 크기의 형광 라텍스 추적자를 통해 시각화하였다. 추적자의 거동은 벤토나이트와 완벽하게 일치하진 않았으나, 벤토나이트 팽윤 및 침식 거동을 시각화하는 데 유효하였다. 인공균열 시험과 더불어 형광 추적자를 이용한 암석균열 내 침식시험도 함께 수행하였다. 5개의 보어홀을 굴착한 1×1 m 암석 블록을 이용하여 용액 추적자(Bromide, Iodide, Uranine) 시험을 먼저 수행한 다음, 벤토나이트를 보어홀 내 설치하여 지하수 유동이 없는 포화 조건에서 19일간 자유 팽윤, 이후 44 mL/h의 지하수 유동을 주어 42일간 침식시험을 수행하였다. 지하수의 화학적 조성이 침식에 가장 영향을 많이 미쳤고, 유량의 영향은 크지 않았다. 벤토나이트에서의 방생한 콜로이드 농도는 Na형(0~3 mg/L)과 Ca형(0.2~0.5 mg/L) 간 차이를 보였고, 지하수 조성에 따라 콜로이드 입자의 크기가 달랐다(dilute water = 200~500 nm, Grimsel water = 300~1400 nm). 벤토나이트의 13~14%가 균열 내 겔 형태로 침투하였지만, 초기 무게대비 0.15% 이하만이 콜로이드를 형성하여 그 양이 미미한 것을 확인하였다.
Alonso et al.(2019)은 내부단면 170×170 mm의 Methacrylate 셀을 이용하여 인공균열을 모사하고 다양한 벤토나이트 펠렛(Nanocor, MX-80, Salt-free MX-80, Na형 MX-80, Ca형 MX-80, Ibeco clay, 건조밀도 1,400 kg/m3)를 대상으로 균열표면 거칠기(smooth, roughness 1, roughness 2), 균열 폭(0.1, 0.2, 0.4, 1.7 mm), 균열 각도(0°, 45°, 90°) 및 유량 유무에 대한 인공균열 시험을 30일간 수행하였다. 30일간 시험 이후, 침식된 벤토나이트 시료를 침투 거리에 따라 채취해 FTIR (Fourier Transform infrared) 스펙트럼, TG/DSC (ThermoGravimetry/Differential Scanning Calorimetry)곡선, XRD (X-Ray Diffraction)를 통해 분석하였다. 모든 시험에서 벤토나이트는 팽윤하여 균열 내로 침투하였고, 시간에 지남에 따라 침투가 멈추었다. Na형 벤토나이트의 침투 깊이가 Ca형 벤토나이트에 비해 컸으나, 벤토나이트 종류별 Na+ 함량에 따른 침식량의 관계는 보이지 않았다. 절리 균열 폭이 커짐에 따라 벤토나이트 침투량이 증가하였고, 균열표면 거칠기가 없는 시험에서는 벽면 마찰력이 벤토나이트의 침투에 큰 영향을 미치지 않았다. 균열 각도로 인한 침강(sedimentation)은 균열 폭(smooth 0.4 mm 이상) 또는 균열의 거칠기(roughness 1, 2)가 상대적으로 큰 시험에서 확인되었다. Reid et al.(2015)에서 확인한 부성분광물의 거동과 다르게 침투 거리에 따른 벤토나이트의 성분은 초기 시료와 거의 동일하였고, 침투 끝단의 벤토나이트를 구성하는 주성분은 부성분광물이 아닌 스멕타이트였다. 이를 통해 침투 끝단의 스멕타이트가 필터를 형성하여 벤토나이트의 침식 및 균열 내 침투를 막는 역할을 한다고 볼 수 있다.
4.1.2 BELBaR 공동연구 프로젝트
유럽 공동연구 프로젝트인 BELBaR에는 유럽 7개국 14개 기관(SKB(스웨덴), CIEMAT(스페인), NRI(체코), KIT(독일), POSIVA(핀란드), VTT(핀란드), ClayTech(스웨덴), JYU(핀란드), KTH(스웨덴), NDA/RWM(영국), B+Tech(핀란드), UNIMAN(영국), HU(핀란드), MSU(러시아))이 참여하여 공학적방벽 내 벤토나이트의 콜로이드 형성, 안정성 및 핵종 이동에 미치는 영향을 파악하기 위한 연구를 수행하였다(Sellin and Sundman, 2011, Neretnieks and Moreno, 2018a). BELBaR 프로젝트에서는 2012년부터 2016년까지 다양한 조건(구속 조건, 점토 종류, 포화 정도 등)에서의 벤토나이트 침식 관련 연구가 수행되었으며, 총 7개의 Work package (WP)로 이루어져 있다 (① 안전성 평가(Safety assessment), ② 침식(Erosion), ③ 콜로이드, 핵종, 암반 상호작용(Colloid radionuclide and host rock interaction), ④ 콜로이드 안정성(Colloid stability), ⑤ 개념 및 수리모델(Conceptual and mathematical models), ⑥ 지식확산 및 소통(Knowledge spreading and communication), ⑦ 협동(Coordination)).
WP2에서 수행한 BELBaR 벤치마크(Benchmark) 시험에서는 총 5개 기관이 동일한 벤토나이트 시료(Nanocor, PGN grade, 1 mM NaCl 포화), 건조밀도(1,400 kg/cm3), 지하수 조성(1 mM NaCl), 균열크기(0.1 mm)에 대해 서로 다른 시편 크기 및 셀 크기의 인공균열 침식 시험을 수행하였다(Fig. 15, Schatz et al., 2016). 시험은 첫 30일간 정적조건에서 자유 팽윤, 이후 14일간 10-6 m/s의 느린 유동조건, 이후 14일간 10-4 m/s의 빠른 유동조건 총 3단계에 나누어 진행되었다. 1단계에서는 벤토나이트가 팽윤하여 방사(radial) 방향으로 균열에 침투하였다(침투깊이 3.8~4.6 cm). 2단계에서는 물의 유동 방향에 따라 비대칭적으로 균열에 침투하였고(침투깊이 4.9~5.3 cm), 내부 고체 벤토나이트와 물에 의해 침식된 외부 벤토나이트 사이 경계가 형성되었다. 3단계에서는 내부와 외부 벤토나이트 간의 경계가 더 뚜렷해졌고, 두 시험에서 내부 벤토나이트에서도 침식이 발생하였다(침투깊이 4.4~5.9 cm). 팽윤압을 측정한 UniStrath 시험에서는 1, 2단계에서 일정하던 팽윤압이 3단계에서 감소하는 것을 확인하였다. KIT/INE에서 수행한 시험은 시료 포화 문제로 인해 2, 3단계 시험이 수행되지 않았다. 2단계와 3단계에서 측정한 결과는 Table 2와 같다. 벤치마크 시험 간 침투 거리는 15% 이내로 유사하였고 침식률은 2.3%(CIEMAT)에서 17.2%(UniStrath) 사이에 편차를 보였다.

Fig. 15.
Average extrusion distance during the BELBaR benchmark experiments (Red: 1st phase, Blue: 2nd phase, Green: 3rd phase) (Schatz et al., 2016)
Table 2.
Comparison of BELBaR benchmark experiment results conducted at different institutions (Schatz et al., 2016)
앞서 설명한 연구 외에도 Jansson (2009)은 벤토나이트 시료를 활용한 인공균열 내 침식 특성을 규명하고자 하였으며, 이들 연구로부터 확인된 벤토나이트의 주요 침식 특성은 다음과 같이 정리할 수 있다.
- 각 시료의 임계응집농도 이하의 낮은 농도에서만 침식 발생하였고, 증류수를 사용한 시험에서 가장 큰 침식률을 보임
- 순수 Ca형 몬모릴로나이트는 증류수에서도 졸 형성을 보이지 않음
- 지하수 내 1 mM 의 Ca2+이온은 침식을 억제함
- 부성분광물은 침투 끝단에 남겨져 침식을 저해함
- 벤토나이트의 겔 형성은 이온강도에 의존적이며 pH<10 영역에서 영향이 크지 않음
- 벤토나이트와 부성분광물 모두 인공균열의 각도 증가에 따라 중력의 영향을 받아 침전됨
- 중력에 의한 침전이 일어나려면 화학적 침식 조건(이온강도)이 선행되어야 함
- 낮은 이온 농도에서는 유량과 평균 침식률 간에 관계가 있어 보이나, 경향성이 크지 않음
- 절리가 거칠수록 침식률이 낮고, 높은 유량에서는 절리 거칠기의 영향이 적음
4.1.3 국내 침식시험 연구 현황
국내 심층처분시스템의 완충재 후보물질인 경주 벤토나이트를 대상으로 침식실험은 수행된 바 있다(Baik et al., 2005). 경주 벤토나이트의 물리화학적 기본 특성 조사를 바탕으로 침식 실험 장치(BEGES, Bentonite Erosion and Colloid Generation Experimental System)를 제작하여 지화학적 변수(이온강도, pH 등) 및 용액 종류에 따른 침식 특성을 확인하였다. 심층처분장에서의 벤토나이트 질량 유실에 따른 인공방벽시스템의 물리적 건전성에는 거의 영향을 미치지 않았고, 암반 균열로의 침투에 의한 벤토나이트 유출보다는 지하수와의 접촉에 의한 벤토나이트 콜로이드의 형태로 유출되는 것이 더 지배적인 현상으로 보았다. 그러나 국내 심층처분장에서 발생할 수 있는 다양한 지하수 침투 시나리오에 대한 연구나 열-수리-역학-화학적 복합거동을 고려한 연구는 수행되지 않았고, 파이핑 발생 가능성에 대한 연구는 수행된 바 없다. 국내 처분 환경을 고려한 추가적인 실험실 규모의 침식 및 파이핑 시험을 통해 심층처분시스템 내 완충재 침식 및 파이핑 발생 가능성을 판단하기 위한 기초 자료를 확보할 필요가 있으며, 이를 뒤채움재 및 완충재 설계에 반영하여 사용후핵연료 심층처분의 신뢰도를 향상시킬 필요가 있다고 판단된다.
4.2 밴토나이트 완충재 파이핑 실험
벤토나이트 파이핑 실험은 크게 파이핑 채널의 형성, 파이핑 채널 벽면의 침식을 확인하기 위한 핀홀(pinhole)실험, 파이핑 채널의 자가치유(self-healing)실험 등으로 나뉘어 진행된다.
4.2.1 파이핑 채널 형성 실험
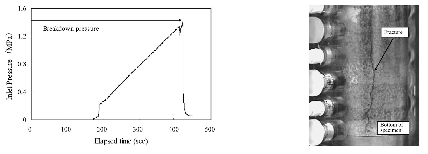
소규모(지름 20~100 mm, 높이 40~300 mm) 투명 셀 내부에 벤토나이트를 설치하고 물 주입으로 인한 파이핑 채널 형성을 육안으로 확인하는 시험이 많이 수행되어왔다. Kobayashi et al.(2008)은 지름 50 mm 높이 100 mm의 벤토나이트와 벤토나이트-모래 혼합 시료에 대한 핀홀 실험을 수행하여 초기 함수비, 건조밀도, 수압 재하 속도 및 모래혼합비의 영향을 파악하였다. 베이클라이트(bakelite) 원통형 셀 하부 물 주입부에 지름 2 mm 높이 40 mm 의 튜브를 설치하여 시료 내 균열 형성을 유도하였다(Fig. 16). 균열 발생 이후, CT 스캐너를 사용하여 시료 내 균열 형상을 확인하였다. 주입 수압은 시간에 따라 증가하다 인장 및 전단 파괴로 인한 균열 발생 이후 급격하게 떨어졌다. 높은 초기 건조밀도, 낮은 함수비 및 낮은 모래혼합비 조건에서 높은 균열 발생압을 보여 벤토나이트의 수화 및 팽윤 조건에 따라 달라짐을 확인하였다. 인장 파괴로 인한 균열 형성이 지배적이나, 낮은 밀도에서는 초기 전단 파괴로 인한 균열 형성이 보였다.
Börgesson and Sandén (2006)은 플렉시글라스 튜브 내부에 벤토나이트 펠렛을 넣어 유량(0.001~1 L/min), 염도(0~3.5%) 및 벤토나이트 시편 길이(0.1~3.0 m)에 따른 파이핑 채널 형성 및 침식량을 측정하였다. 투명 셀 벽면을 따라 파이핑 채널이 형성됨을 확인하였고 침식량은 초기 증가 이후 시간에 따라 감소하는 경향을 보였다. 유량이 침식에 미치는 영향은 크지 않았고 염도가 낮을수록 더 많은 침식이 발생하였다. 또한, 시편 길이 증가에 따른 침식량 증가가 보이나 그 경향이 모호하였다.

Fig. 16.
Typical relation between inlet pressure and elapsed time and typical fracture pattern observed on the surface of the specimen (Kobayashi et al., 2008)
Suzuki et al.(2013)은 아래 그림과 같이 소규모(직경 110 mm, 높이 50 mm)와 공학규모(외경 300 mm, 내경 50 mm, 높이 1,000 mm) 아크릴 셀을 이용하여 벤토나이트 재료(100% Kunigel V1, 70% Kunigel V1 30% Silica sand), 벤토나이트 형태(블록, 펠렛), 갭 유무, 지하수, 수압, 및 유량에 따른 파이핑 시험을 수행하였다(Fig. 17). 완충재와 셀 경계면을 따라서 채널이 형성되었고 초기에 발생한 채널들이 시간에 따라 하나의 채널로 합쳐지는 경향으로 보였다. 모래를 섞은 벤토나이트의 경우, 모래의 침식이 몬모릴로나이트의 자가치유를 방지하고 높은 투수계수를 가진 채널이 형성되는 것을 확인하였다. 블록과 펠렛 경계면에서는 파이핑 채널이 발생하지 않았고, 셀 측면 갭이 없거나 유량이 0.001 L/min보다 작은 경우 벤토나이트 파이핑이 발생하지 않을 것으로 예상하였다(Figs. 18~20).
실제 처분장에서 발생할 수 있는 파이핑 채널 형성을 예상하기 위해 공학규모 파이핑 시험이 다수 수행된 바 있다. Pintado et al.(2013)은 X-BOY 셀(St-52스틸 실린더, 시료 지름 350 mm 높이 800 mm)과 Transu 셀(투명 PVC 실린더, 시료 지름 269 mm 높이 800 mm, Fig. 21) 두 공학규모 실험 장치를 이용하여 처분 초기 발생할 수 있는 파이핑 현상에 대해 mock-up 실험을 수행하였다. 완충재 블록과 갭채움재 펠렛을 사용하여 초기 처분공 내 불균질화를 모사하였고, 갭채움재 유무와 지하수 염도(0~35 g/L)에 따른 변화를 주입(시료 하부 측면) 수압, 배출(시료 상부 측면) 유량, 팽윤압, 침식량, 온도를 통해 측정하였다. 또한, 시험 후 시료를 샘플링하여 위치별 함수비와 건조밀도를 측정하였다. 벤토나이트 시료는 주입 수압에 따른 저항을 보이지 않았고, 시험 기간 동안 용출액 내 벤토나이트 농도가 높은 것으로 보아 지속적인 침식이 발생했음을 유추할 수 있었다. 상대적으로 낮은 축방향 및 방사방향 팽윤압이 계측되었고 셀 내부 위치에 따라 불균질한 팽윤압 및 포화도를 보였다. 투명한 셀의 경우, 모든 실험에서 지름 4~6 mm의 파이핑 채널이 벤토나이트와 셀 경계면에서 발생하는 것을 육안으로 확인하였다.
Ishii et al.(2020)은 셀 측면에 다수의 물 주입구가 설치된 공학규모(내경 560 mm, 높이 600 mm) 아크릴 셀을 이용하여 Kunigel-sand 시료에 대해 물 주입/배출 위치에 따른 파이핑 시험을 수행하였다. 시험 후 시료를 샘플링하여 위치별 함수비와 건조밀도를 추가로 측정하였다. 파이핑 채널이 형성된 셀 벽면 영역의 높은 포화도 및 낮은 건조밀도를 통해 벤토나이트의 침식으로 인한 완충재 밀도 저하가 확인되었다. 주입 유량과 벤토나이트 침식량은 소규모 실험에서 계산된 선형적인 관계식과 유사하였고 물 주입/배출 위치에 따른 차이를 보이지 않았다.
대부분의 소규모 및 공학규모 시험에서 파이핑 채널은 밀도가 낮고 공극이 큰 셀 벽면을 따라 형성되었고, 이는 심층처분장에 있어 완충재와 근계암반 사이의 경계면이나 뒤채움재에서 발생할 가능성이 높다고 볼 수 있다. 따라서 국내 처분장에서 벤토나이트 완충재 침식 및 파이핑 발생 가능성과 임계유입량 등 처분시스템의 안정성에 미치는 영향인자들에 대한 검토가 필요하고, 이를 완충재 및 뒤채움재 설계에 반영하여 사용후핵연료 심층처분의 신뢰도를 향상시킬 필요가 있다.
4.2.2 핀홀(Pinhole)실험
핀홀 시험은 벤토나이트 시료 내 이미 파이핑 채널이 생성된 경우, 지하수의 유동에 의해 파이핑 채널 벽면에서 시료의 팽윤 및 침식에 따른 채널의 지름 변화와 용출액의 상태를 확인하는 시험이다. 핀홀 시험의 상세한 시험절차는 ASTM D4647/D4647M-13에 명시되어 있다. Pusch(1983)는 지름 50 mm 높이 39 mm 의 MX-80 벤토나이트 시료에 지름 1 mm의 튜브를 이용하여 물길을 만들고 다양한 압력수두, 겔 농도 및 점토함량에 대해 핀홀 시험을 수행하였다. 특정 임계압 이상에서 높은 침투율(percolation rate)을 보였고 묽은 겔에서도 핀홀이 막히는 현상을 보였다. 지하수 침투로 인한 견인력이 입계값 이하로 떨어지면 요변성(thixotropy)으로 인해 벤토나이트 겔이 강도를 회복하여 안정한 플러그를 형성하였다. 묽은 겔은 암반의 투수계수에 큰 영향을 미치지 않고 낮은 동수경사에서는 암반 내 이동을 하지 않을 것이라 예상한다.
Sane et al.(2013)은 MX-80 벤토나이트와 Friedland 점토를 대상으로 핀홀 채널의 길이(100, 400 mm), 초기 핀홀 지름(6, 12 mm), 초기 함수비(12.7, 18.2, 22.6%) 등의 영향을 보기 위한 시험을 수행하였다(Fig. 22). 용액 주입 유량은 0.1 L/min으로 고정하였고 용액 내 CaCl2와 NaCl의 함량(0, 10, 35 ,70 g/L)과 이온비율(Ca2+:Na+ = 1:2, 1:1, 3:2)에 따라 시험을 수행하였다. 초기 핀홀 지름은 침식률에 큰 영향을 보이지 않았고 이는 벤토나이트의 팽윤과 침식 사이의 균형이 포화 초기에 일어남에 기인한다. 팽윤과 침식 간 균형이 파이핑 채널 지름을 안정적인 특정 값으로 유도하고, 이 값은 용액의 염도에 따라 다소 편차를 보였다. 핀홀 시험은 시료성형, 채널 형성 및 물 주입 과정에 있어 반복성이 떨어져 시험 횟수 간의 데이터 산란이 큰 것으로 나타났다. 높은 용액 염도에 따라 시험 초기의 침식률이 증가한 경향을 보였으나 전반적인 핀홀 지름의 영향은 보이지 않았다. 또한, 동일 조건에서 초기함수비가 낮을수록 침식률이 높은 것을 확인하였다(Fig. 22(b)).
Wang et al.(2017)은 시멘트-벤토나이트 혼합체를 7, 14, 28, 60일간 건조 양생 후 초기 핀홀 지름(1, 2 mm)과 물 주입 시간(1, 2, 3 시간)에 따른 침식거동 변화를 시험하였으며, 침식된 핀홀의 단면의 형상을 Fig. 23와 같이 도출하였다. 시멘트 양생 기간에 따라 침식량이 줄어들었고 초기 핀홀 지름의 영향은 미미하였다. 침식은 물 주입 초기에 많이 발생하였고 시간이 지남에 따라 침식량이 줄어드는 경향을 보였다.
4.2.3 자가치유(self-healing)실험
자가치유 실험은 만약 완충재 및 갭채움 물질에 파이핑 채널이 생긴 경우 어떠한 조건에서 이 파이핑 채널이 스스로 치유되어 채널을 막을 수 있는지 테스트 하기 위한 실험이다. 완충재 및 갭채움 물질의 경우 몬모릴로나이트를 함유하고 있기 때문에 포화가 진행됨에 따라 팽윤하여 채널을 치유할 수 있다. 하지만 일정 유량과 유압 이상에서는 파이핑 채널을 치유할 수 없을 것이다. 주로 완충재 내 몬모릴로나이트 함량, 건조밀도 등이 증가함에 따라 자가치유 성능이 증가하게 된다. Börgesson et al.(2005)는 지름 50 mm 길이 120 mm의 벤토나이트 시료(건조밀도 1,700 kg/m3, 함수비 17.5%)를 이용하여 시료와 셀 사이 이격을 발생시켜(지름 49 mm 시편을 이용하여 셀 벽면과 이격) 측면부 파이핑 현상에 대한 시험을 수행하였다. 시료 높이의 중앙부근 측면에서 팽윤압을 측정하였고 유량제어(flow-controlled)와 수압제어(pressure-controlled) 방식으로 시험을 수행하였다. 유량제어 방식에서는 벤토나이트 팽윤으로 인한 파이핑 채널의 밀봉이 일어나면 셀 내부 수압이 10분 내 1 MPa까지 증가하도록 유량을 조절하였다. 수압제어 방식에서는 중력을 이용하여 수압을 일정한 값으로 유지하였다. 시험을 통해 파이핑 채널의 밀봉(sealing)이 발생하는 유량 및 수압을 도출하고자 하였다. 본 시험에서는 0.001 L/min 이상의 유량과 4 kPa 이상의 수압에서 파이핑 채널의 밀봉이 발생하지 않았으나, 높은 유량 및 수압제어를 동반한 시험 수행으로 보수적인 추정치로 판단된다.
Sandén et al.(2008)은 Fig. 24와 같이 내부 직경이 101 mm, 높이 85 mm의 다양한 완충재/뒤채움재 후보 재료들로 만들어진 시료를 설치하고 1 m 높이의 수압을 걸어 약 1.5~2달간 포화를 수행하였다. 그 후 직경 5 mm의 hole을 설치하고 20~500 kPa의 압력으로 수돗물, 1%와 3.5%의 염수를 흘려주었다. 3주 후 Asha 230 점토(초기함수비:16.7%, 초기건조밀도 1,695 kg/m3)는 완벽하게 자가치유되었고, Friedland 점토(초기함수비:9%, 초기건조밀도 2,000 kg/m3)도 대부분 자가치유되었다. 하지만 벤토나이트 30%, 쇄석 70%의 혼합물(초기함수비:7.2%, 초기건조밀도 2,150 kg/m3)은 자가치유가 발생하지 않았다(Fig. 25).
5. 벤토나이트 완충재의 침식 및 파이핑 관련 수치 모델 현황
벤토나이트의 침식 및 파이핑 메커니즘 규명을 위한 전산 수치 모델 연구는 심층처분장을 활용한 사용후핵연료의 효율적이고 안정적인 관리를 위해 필수적이다. 벤토나이트 완충재의 침식은 지하수 조성으로 인한 겔화가 선행되어야 하고, 침식 유발에 필요한 화학적 조건 및 침식된 압축 벤토나이트의 고체, 겔, 졸 상(phase)이 동시에 존재하는 복합적인 거동을 고려할 수 있는 모델이 필요하다. 벤토나이트 침식 및 파이핑 관련 실험 결과를 모사하기 다양한 전산 수치 모델들이 제시되었으며, 크게 동적 벤토나이트 확산 모델(Dynamic bentonite diffusion model)과 팽창성 점토 모델(Expansive clay model)로 나눌 수 있다(Laviña et al., 2018). 이 외에도 힘 평형 모델이나 침식된 벤토나이트의 거동을 유체로 모사한 수리-역학적 모델들도 제시되었다. 본 장에서는 포화 벤토나이트를 활용하여 수행된 인공균열 침식 시험과 파이핑 시험의 결과를 모델화한 사례를 바탕으로 공학적방벽 시스템에서의 벤토나이트 완충재 침식 및 파이핑 모델을 분석 및 정리하였다.
5.1 동적 벤토나이트 확산 모델
동적 벤토나이트 확산 모델은 스웨덴의 KTH에서 개발된 모델로, 입자 표면에서 벤토나이트 거동을 좌우하는 나노 단위 힘들의 작용을 고려한 수리-역학-화학적(Hydro-Mechanical- Chemical) 모델을 제시하였다(Neretnieks et al., 2009). 동적 확산 모델에서 벤토나이트의 팽윤압은 확산이중층의 척력과 van der Waals 인력 간의 균형으로 표현되고, 두 힘은 Na+ 양이온 농도와 스멕타이트 부피율(volume fraction)과 명확한 관계를 보인다. 동적 확산 모델은 크게 1) 균열 내 벤토나이트 겔과 졸 및 지하수의 유동 모사에 필요한 Darcy 식, 2) Na+ 양이온의 이동 모사에 필요한 이류확산(advection-diffusion) 방정식, 그리고 3) 스멕타이트 팽윤을 모사하기 위한 동적 힘 평형 모델(dynamic force balance model, Liu et al., 2009)로 구성된다. 스멕타이트 부피율과 Na+ 양이온 농도에 따라 벤토나이트 겔의 점도와 확산계수가 변화하고, 팽윤압은 입자 전하, 입자 크기, 스멕타이트 부피율, 이온강도 및 지하수와의 마찰을 고려하여 계산된다(Liu, 2013). 점도 관계식의 경우, 해석의 수렴성을 보완하기 위해 묽은 겔(dilute expansive gel)을 활용한 실내실험 데이터로 단순화하였다. 위 Coupled PDE를 FEM으로 사용하여 풀어 벤토나이트의 팽창률(rate of expansion)과 질량 흐름률(mass flow rate)을 계산할 수 있다(Fig. 26, Moreno et al., 2011).
초기 동적 벤토나이트 확산 모델은 벤토나이트 팽윤에 따른 위치 변화, 스멕타이트 겔/졸의 변화하는 화학 특성, 스멕타이트 입자에 작용하는 힘, 벤토나이트 겔/졸의 점도 등 관계식들의 비선형성을 모두 고려한 정확한 해를 구하기 어려웠다. 따라서 수렴성을 보완하기 위해 BELBaR 프로젝트에서 수행한 연구결과를 바탕으로 해석영역을 점토 팽윤 영역(expanding clay region)과 테두리 영역(rim region)으로 나눈 두 영역(two-region) 모델이 추가로 개발되었다(Neretnieks et al., 2017). 점토 팽윤 영역에서는 벤토나이트가 확산작용과 유사하게 방사 방향으로 팽윤하고 동수경사의 영향을 받지 않는다고 가정하였다. 테두리 영역에서는 벤토나이트의 부피율 감소에 따라 점도가 감소하여 벤토나이트 겔/졸이 지하수 유동으로 이동하고 이온교환은 무시하였다. 두 영역 사이 스멕타이트 입자는 확산된다고 가정하여 테두리 영역의 벤토나이트 거동이 점토 팽윤 영역의 경계조건으로 입력된다. 벤토나이트 팽윤 및 겔/졸의 이동은 유동장(adaptive grid) 해석을 통해 모사되었다. 두 영역 모델은 처분공 내 벤토나이트 부피율이 상수값을 가지는 유사정상상태(Pseudo steady state, PSS)를 가정하거나 벤토나이트 확산계수를 상수값으로 단순화하여 해석 효율을 높일 수 있다(Neretnieks et al., 2017).
동적 벤토나이트 확산 모델은 실질적으로 자유 팽윤만을 고려한 모델로, 벽면 마찰 등 구속조건으로 인한 점성력을 고려하지 못한다는 점에 한계를 보인다. 따라서 처분장에서의 구속조건으로 인한 팽윤능 저하를 모사하지 못하여 벤토나이트 침식 및 팽윤을 과대평가할 수 있다. 이를 보완하기 위해 벽면 마찰(Börgesson et al., 2018, Pont et al., 2020), 벤토나이트 전단 강도(Neretnieks and Moreno, 2018b), 입자 포집(particle clogging) (Richards, 2010) 등을 고려한 모델들이 추가로 제시된 바 있으나, 동적 벤토나이트 확산 모델에서는 고려되지 않았다. 화학적 특성 또한 침식에 영향을 미치는 Na+ 양이온으로 단순화하여 복합적인 이온의 영향을 고려하지 못하고, 벤토나이트 입자의 응집을 모사할 수 없다.
5.2 팽창성 점토 모델
Modified Cam-Clay Model (MCC), MCC에서 확장된 Barcelona Basic Model (BBM, Alonso et al., 1990) 이원공극(dual porosity)을 고려하는 Barcelona Expansive Model (BExM, Alonso et al., 1999) 등 지반공학에서 사용되는 탄소성 팽창성 점토 모델을 이용하여 벤토나이트 침식을 전산 모사하는 연구가 다수 수행되었다(Islam et al., 2019, Navarro et al., 2014, Navarro et al., 2016, Navarro et al., 2017). BExM은 팽창성이 큰 점토의 모사를 개선하기 위해 BBM을 보완한 모델로 입자가 팽윤하는 미시구조(microstructure)와 구조적인 변화가 발생하는 거시구조(macrostructure)를 가진다. 미시구조와 거시구조 사이에는 수리-역학-화학적 평형을 이루고 미시구조의 탄성변형과 거시구조의 탄소성변형이 결합(coupling)된다. 벤토나이트 침식으로 인한 큰 구조적 변화와 거시적인 변형을 모사하기 위한 상태표면(state surface)이 새로 제시되어 팽윤으로 인한 입자 분리에 따른 팽윤 특성 변화를 성공적으로 모사하였다(Navarro et al., 2016). 또한, 미시구조와 거시구조의 흡인력(matric suction)을 분리하고 미시구조에 삼투 계수(osmotic coefficient)를 포함하여 염도 조건 및 이온교환능 이상의 화학적 포텐셜에 의한 미시구조 흡인력 증가를 모사하였다(Navarro et al., 2017).
BExM을 이용하여 MX-80 벤토나이트의 자유 팽윤 및 핀홀 시험 결과를 성공적으로 모사하였다(Navarro et al., 2014, Navarro et al., 2016). 특히 Navarro et al.(2016)은 BExM 점토 모델을 활용하여 Sane et al.(2013)에서 수행한 핀홀 시험 데이터를 기반으로 벤토나이트의 팽윤 및 기계적 침식 복합거동을 모델링하였다. 침식으로 인한 핀홀 직경의 변화를 유효직경으로 단순화하여 비포화 팽윤을 포사하였고, 유효직경 변화를 FEM 해석을 COMSOL Deformed geometry 모듈을 활용하여 해석하였다. 반면 인공균열 침식시험 모사의 경우, 팽윤에 따른 큰 비선형적 공극률 변화로 인해 소성변형이 매우 커져 수렴 문제가 발생하였고 벤토나이트 침투를 전체 시험 기간인 720시간 대비 초기 10시간만 해석 가능하였다(Laviña et al., 2018). 동적 벤토나이트 확산 모델 및 핀홀 시험 해석에서 사용된 유동장 해석을 통해 침투 전단 변화를 보완할 수는 있으나, 실제 침투 전단의 벤토나이트 겔은 유체와 유사한 거동을 보이므로 BExM과 같은 지반공학 모델로 모사하기 어렵다. BExM로 균열 내 벤토나이트 침투를 더욱 정확히 모사하기 위해 시간에 따른 상태 변수(phase parameter)를 지배방정식에 추가하여 고체 상태와 액체 상태 벤토나이트 비율에 따라 다른 거동을 보이게 모사할 수 있을 것으로 예상된다(Laviña et al., 2018). 이때 벤토나이트는 상태 변수에 따라 응력으로 표현되는 고체 운동량 평형방정식과 물의 질량 평형방정식으로 표현할 수 있다. 그러나 제안된 방법을 구현하기 위한 이론식과 최적 해석 방안 및 프로그램에 대한 평가가 필요하다.
5.3 수리-역학 모델
힘 평형 모델(Birgersson et al., 2009, Börgesson et al., 2018)은 팽윤압과 공극수압이 서로 독립적인 압력으로 고려하고 벤토나이트와 암반균열 표면 사이에 작용하는 전단응력을 벤토나이트 팽윤압과 마찰각으로 나타낸다. 이 모델은 벤토나이트를 고체 매질로 가정하고 벤토나이트 침투 거리에 따른 힘 평형방정식을 적분하여 처분공 내 벤토나이트 팽윤압, 균열 내 침투한 벤토나이트 팽윤압, 암반 균열폭과 벤토나이트 침투 깊이 간의 관계식을 제시하였다. 이때 침투 깊이는 힘 평형 상태에 도달했을 때의 관계로 벤토나이트의 균열 침투 속도 및 시간을 고려하지 못하여 실제 벤토나이트 완충재의 침식 프로세스를 모사하기에는 부적합하다.
힘 평형 모델과 다르게 암반균열로 침투한 벤토나이트 겔의 거동을 일정한 점도를 가진 유체로 가정하여 유체의 이동으로 모사하는 연구가 수행되었다(Baik et al., 2005, Lee et al., 2020). 벤토나이트 함량에 따라 벤토나이트 겔은 뉴턴 또는 비뉴턴 유체 거동을 보이고, 유체 특성에 따라 Poiseuille 방정식등 유체 거동 방정식들을 사용하여 벤토나이트의 균열 침투 모사하였다. 벤토나이트의 경우, 벤토나이트 함량에 따라 항복강도 이하의 전단응력에서는 고체 거동, 항복강도 이상의 전단응력에서는 점성 유체로 거동을 보이는 Bingham 유체 특성을 가질 것이라 추정된다(Lee et al., 2020).
6. 결 론
사용후핵연료 심층처분장에서 지하수 침투로 인해 예상되는 압축 벤토나이트 완충재의 침식과 파이핑으로 인한 완충재-근계암반의 복합거동 특성 파악 및 예측을 위해 세계 각국에서 다양한 실험과 모델링 기법 개발 연구가 수행되어왔다. 압축 벤토나이트 완충재의 침식 및 파이핑 현상에는 벤토나이트, 지하수, 암반의 특성이 영향을 미치며 그중 1) 지하수의 압력과 유량, 2) 지하수 조성 및 농도, 3) 완충재 조성, 4) 완충재 초기 건조밀도, 그리고 5)완충재 초기 함수비가 주요한 영향인자임을 확인하였다. 벤토나이트 완충재의 물성, 지하수 특성 및 암반 조건에 따른 완충재의 침식 및 파이핑 특성 변화를 파악하기 위한 인공균열 침식시험이나 핀홀 시험 등 다양한 실내시험들이 수행되어 화학적 요인에 의한 벤토나이트 침식이 주된 메커니즘으로 분석되었고, 소규모 및 공학규모 파이핑 시험을 통해 완충재와 근계암반 경계면에서의 파이핑 발생 가능성을 확인하였다. 또한 BELBaR와 같은 공동 연구 프로젝트를 통해 벤토나이트 완충재의 침식, 콜로이드-핵종-암반 상호작용, 콜로이드 안정성, 수리모델 개발 등 기술적 발전이 지속적으로 이루어지고 있다.
수치 모델의 경우, 벤토나이트의 고체 및 유체 상태에 따른 모델들과 벤토나이트의 팽윤 및 화학적 침식을 고려한 다양한 수리-역학 및 수리-역학-화학적 모델들이 제안되어왔다. 기존 연구들로부터 벤토나이트 완충재의 침식은 지하수 조성으로 인한 겔화가 선행되어야 하고, 침식 유발에 필요한 화학적 조건 및 침식된 압축 벤토나이트의 겔과 졸 거동이 복합적으로 고려되어야 한다. 또한, 고준위폐기물로부터 발생한 열의 영향도 고려한 연구가 수행되어야 한다. 따라서, 사용후핵연료 심층처분장의 열-수리-역학적(Thermal-Hydraulic-Mechanical) 거동과 더불어 포화 벤토나이트의 화학적 특성을 반영할 수 있는 역학 모델 개발에 집중해야 한다. 궁극적으로 침식 및 파이핑 모델링에 있어 심층처분장의 열-수리-역학적 해석과 연동할 수 있는 해석 방법이 수반되어야 한다.
국내 심층처분장의 완충재 재료 대상으로 고려되고 있는 Ca형 경주 벤토나이트에 대한 침식 및 암반 침투 관련 연구는 수행된 바 있으나, 심층처분장에서 발생할 수 있는 다양한 지하수 침투 시나리오에 대한 연구나 열-수리-역학-화학적 복합거동을 고려한 연구는 수행되지 않았고 파이핑 발생 가능성에 대한 연구는 수행된 바 없다. 한국원자력연구원에서는 완충재와 근계암반의 상호작용으로 인한 완충재의 건전성을 평가하기 위해 본 논문에서 도출된 영향인자를 고려하여 아래와 같은 연구들을 순차적으로 수행할 예정이다.
- 완충재의 파이핑 유발실험 및 인공절리 실험 수행
- 침식 및 파이핑 현상이 발생하는 조건 분석 및 발생량 예측
- 침식 및 파이핑 발생 시 물리탐사 측정값 변화 분석 및 이를 활용한 완충재 건전성 정량 평가
- 파이핑 채널 벽면의 침식발생 분석
- 파이핑 채널의 자가치유 발생 조건 분석
- 펠렛, 그래뉼 등의 갭채움재 존재에 따른 침식/파이핑 실험 수행 및 발생조건 변화 분석
- 완충재 침식으로 인한 완충재의 구조적 안정성 수치해석
- 공학규모 실험을 통한 크기효과 검증
- KURT를 활용한 완충재-근계암반 상호작용에 따른 완충재 현장실증실험 수행























